آیین‌نامه‌ها

صفحه اصلی / آیین‌نامه‌ها / مبحث دهم مقررات ملی ساختمان (طرح و اجرای ساختمان‌های فولادی)
7-3-10 اتصالات گیردار پیش تأییدشده

7-3-10 اتصالات گیردار پیش تأییدشده

ضوابط عمومی طراحی لرزه‌ای سازه‌ها در بخش 10-3-2 این مبحث و الزامات خاص مربوط به قاب‌های خمشی متوسط و ویژه برای اقناع نیازهای لرزهای، در بخش 10-3-3 ارائه شده است. مطابق ضوابط بندهای 10-3-3-2-6 و 10-3-3-3-8 در این نوع قاب‌ها، اتصالاتی در محل تقاطع تیر به ستون باید مورد استفاده قرار گیرند که از طریق انجام اقدامات و آزمایشات مقرر شده در بخش 10-3-8 تائید شوند.

اتصالات گیردار ارائه شده در جدول 10-3-7-1 در صورت تأمین الزامات و محدودیت‌های این بخش به عنوان اتصالات گیردار پیش تأییدشده محسوب می‌شوند و برای استفاده از آن‌ها نیازی به انجام اقدامات و آزمایشات مقرر شده دربخش 10-3-8 نیست.

جدول 10-3-7-1: انواع اتصالات گیردار پیش تأییدشده

ردیف نوع اتصال مخفف سیستم سازه‌ای قابل کاربرد بخش مربوطه
1 اتصال تیر با مقطع کاهش یافته RBS قاب‌های خمشی متوسط و ویژه 2-7-3-10
2 اتصال فلنجی چهار پیچی بدون استفاده از ورق لچکی BUEEP قاب‌های خمشی متوسط و ویژه 3-7-3-10
3 اتصال فلنجی چهار یا هشت پیچی با استفاده از ورق لچکی BSEEP قاب‌های خمشی متوسط و ویژه 3-7-3-10
4 اتصال پیچی به کمک ورق‌های روسری و زیرسری BFP قاب‌های خمشی متوسط و ویژه 4-7-3-10
5 اتصال جوشی به کمک ورق‌های قاب‌های روسری و زیرسری WFP قاب‌های خمشی متوسط 5-7-3-10
6 اتصال مستقیم تقویت نشده جوشی WUF-W قاب‌های خمشی متوسط و ویژه 6-7-3-10
7 اتصال پیچی با جفت سپری DT قاب‌های خمشی متوسط و ویژه 7-7-3-10
8 اتصال تیر با مقطع کاهش یافته و دیافراگم عبوری از ستون TD-RBS قاب‌های خمشی متوسط و ویژه 8-7-3-10
9 اتصال تقویت نشده جوشی با دیافراگم عبوری از ستون TD-WUFW قاب‌های خمشی متوسط و ویژه 9-7-3-10
10 اتصال تیر با بال پهن شده و دیافراگم عبوری از ستون TD-Widened قاب‌های خمشی متوسط و ویژه 10-7-3-10
1-7-3-10 الزامات عمومی

در طراحی اتصالات پیش تأییدشده، علاوه بر الزامات فصل‌های 10-1 و 10-2 و الزامات لرزه‌ای عمومی بخش 10-3-2 این مبحث، الزامات بخش‌های 10-3-3-2 یا 10-3-3-3، حسب مورد، نیز باید رعایت شود. در تحلیل سازه، این اتصالات باید به صورت گیردار در نظر گرفته شوند. ضمناً کلیة اتصالات پیش تأیید شده باید دارای شرایط زیر باشند:

الف) مصالح

1- فولاد مورد استفاده باید ضوابط بند 10-3-2-1-1 را رعایت نماید.

2- در مواردی که بال تیر مستقیماً یا با واسطه به بال ستون جوش می‌شود، در محدوده اتصال تیر به ستون، مصالح ورق بالهای ستون که دارای ضخامت مساوی با بیش از 30 میلی‌متر هستند، باید دارای خواص تأییدشده در امتداد ضخامت بوده و از نظر طاقت نمونه شیار داده شده شارپی، حداقل از ردۀ J0 باشند.

تبصره: ردۀ J0 به رده‌ای از مصالح فولادی گفته می‌شود که طاقت نمونه شیار داده شده شار پی آن حداقل 27 ژول در دمای صفر درجه سلسیوس باشد.

ب) اعضا

به طور کلی مقاطع تیرها و ستون‌ها باید یکی از انواع زیر باشند. محدودیت استفاده از هر یک از این مقاطع در انواع اتصالات پیش تأییدشده، در بخش مربوطه آمده است.

1- مقاطع نوردشده I یا H شکل

2- مقاطع قوطی شکل (HSS) برای ستون‌ها

3- مقاطع ساخته شده

مقاطع فوق باید دارای دو محور تقارن باشند. تیرها می‌توانند دارای مقطع I یا H شکل (نوردشده یا ساخته شده از ورق) و ستون‌ها دارای مقطع قوطی شکل (HSS)، مقطع Hشکل (نوردشده یا ساخته شده از ورق)، مقطع جعبه‌ای ساخته شده از ورق یا ساخته شده از مقاطع H شکل همراه با ورق‌های کناری (مقاطع H شکل جعبه‌ای شده) و مقطع صلیبی شکل ساخته شده از ورق یا ساخته شده از نیمرخ‌های نوردشده باشد.

استفاده از مقاطع قوطی شکل (HSS) به شرطی مجاز است که براساس ضوابط مدارک معتبر، ساخت و طراحی شده باشند.

جان مقاطع ساخته شده باید به طور پیوسته به بال آن‌ها با رعایت ضوابط زیر متصل باشد:

  • در دو انتهای تیرهای I و H شکل ساخته شده از ورق، به طول حداقل Sh+db، اتصال جان به بال باید از نوع جوش شیاری با نفوذ کامل همراه با جوش گوشۀ تقویتی در هر دو طرف جان باشد. بعد جوش‌های گوشه تقویتی در هر طرف جان تیر نباید از کوچکترین دو مقدار ضخامت جان و 8 میلی‌متر، کمتر باشد. Sh فاصله بین مفصل پلاستیک در داخل تیر تا بر ستون است که برای انواع مختلف اتصالات پیش تأیید شده در بخش‌های مربوطه ارائه شده است و db عمق تیر است.

تبصره: در مواردی که در بخش‌های 10-3-7-2 الی 10-3-7-10 در این خصوص الزام دیگری و وضع شده باشد، تأمین شرایط فوق الزامی نبوده و به جای آن باید الزام بخش‌های مذکورم تأمین شوند.

  • در ستون‌های H شکل ساخته شده از ورق، در محل اتصال تیر به ستون به فاصله‌ای شامل عمق تیر به علاوه 300 میلی‌متر بالا و پایین بال‌های تیر که به عنوان نواحی بحرانی ستون نامیده می‌شوند، اتصال جان به بال‌های مقطع ستون باید از نوع جوش شیاری با نفوذ کامل با جوش گوشه تقویتی در هر دو طرف جان باشد. بعد جوش‌های گوشی تقویتی در هر طرف جان ستون نباید از کوچکترین دو مقدار ضخامت جان و 8 میلی‌متر، کمتر باشد.
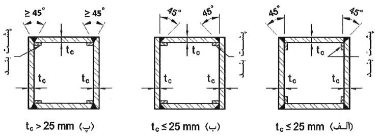
  • در ستون‌های جعبه‌ای ساخته شده از ورق یا ساخته شده از مقاطع H شکل همراه با ورق‌های کناری (مقاطع H شکل جعبه‌ای شده)، در محل اتصال تیر به ستون به فاصله‌ای شامل عمق تیر به علاوه 300 میلی‌متر بالا و پایین بال تیر که به عنوان نواحی بحرانی ستون نامیده می‌شوند، اتصال جانها به بال‌های مقطع ستون باید از نوع جوش شیاری با نفوذ کامل همراه با ورق پشت‌بند باشد. در خارج از نواحی بحرانی طول ستون، اتصال جان‌ها به بال‌های مقطع ستون می‌تواند با استفاده از جوش شیاری با نفوذ ناقص (بدون استفاده از ورق پشت‌بند) انجام‌پذیرد. جزئیات اتصال جوش شیاری با نفوذ کامل در ستون‌های جعبه‌ای ساخته شده از ورق با ضخامت کمتر یا مساوی 25 میلی‌متر باید مطابق شکل 10-3-7-1- الف یا 10-3-7-1-ب و برای ورق‌های بزرگتر از 25 میلی‌متر مطابق شکل 10-3-7-1-پ باشد.

نحوه ساخت ستون‌های جعبه‌ای ساخته شده از ورق

شکل 10-3-7-1: نحوه ساخت ستون‌های جعبه‌ای ساخته شده از ورق

  • در ستون‌های با مقطع صلیبی شکل ساخته شده از ورق یا ساخته شده از نیمرخ‌های نوردشده، در محل اتصال تیر به ستون به فاصله‌ای شامل عمق تیر به علاوه 300 میلی‌متر بالا و پایین بال تیر، که به عنوان نواحی بحرانی ستون نامیده می‌شوند، اتصال جان‌ها به یکدیگر و به بال‌ها باید از نوع جوش شیاری با نفوذ کامل با جوش گوشه تقویتی در هر دو طرف جان باشد. بعد جوش‌های گوشۀ تقویتی در هر طرف جان ستون نباید از کوچکترین دو مقدار ضخامت جان و 8 میلی‌متر، کمتر باشد.

پ) ملاحظات اجرایی تیرها

تیرها باید مطابق الزامات بخش 10-3-2-8 دارای مهار جانبی باشند. علاوه بر الزامات آن بخش، به جز در اتصالات فلنجی پیش تأییدشده، تعبیه مهار جانبی اضافی در دو انتهای تیر در فاصله‌ای بین انتهای ناحیه حفاظت شده تا نصف عمق تیر بعد از آن، الزامی است. طول ناحیه حفاظت شده برای انواع مختلف اتصالات پیش تأییدشده، در بخش‌های مربوطه ارائه شده است. در قاب‌های خمشی با دال بتنی سازه‌ای، در صورتی که تیرها در فاصله میانی بین دو ناحیه حفاظت شده دارای برشگیرهای فولادی مدفون در بتن به فاصله حداکثر برابر 300 میلی‌متر باشند، تعبیه مهارهای جانبی اضافی در محل‌های مذکور الزامی نیست. هم‌چنین:

(1) در قاب‌های خمشی با دال بتنی سازه‌ای، به جز در اتصالات پیش تأییدشده فلنجی، در نواحی حفاظت شده تیر تعبیه برشگیر در روی بال فوقانی تیر مجاز نیست. در اتصال پیش تأییدشده فلنجی چهار پیچی بدون استفاده از ورق لچکی و نیز در اتصال پیش تأییدشده فلنجی چهار یا هشت پیچی با استفاده از ورق لچکی، در فاصله 1.5 برابر عمق تیر از بر ستون، تعبیه برشگیر در روی بال فوقانی تیر مجاز نیست.

(2) در قاب‌های خمشی با دال بتنی سازه‌ای، در فاصله حداقل برابر 25 میلی‌متر از طریق مصالح انعطاف‌پذیر (نظیر یونولیت) باید از اتصال دال بتنی به وجوه ستون اجتناب شود.

تبصره: منظور از دال بتنی سازه‌ای، دال بتن‌آرمه‌ای است که ضخامت آن بیش از 75 میلی‌متر بوده و تنش فشاری مشخصه نمونه استوانه‌ای بتن، بیش از 14 مگاپاسکال باشد. در دال بتنی همراه با عرشه فولادی، ضخامت روی عرشه مدنظر است.

ت) جوش‌کاری

(1) صد درصد جوش‌های شیاری به کار رفته در ناحیه اتصال تیر به ستون باید از طریق آزمایش‌های غیرمخرب نظیر رادیوگرافی یا اولتراسونیک (فراصوتی) تأیید شوند (مطابق بند 10-4-4-2).

(2) برداشتن پشت‌بندهای مورد استفاده در اتصال ورق‌های پیوستگی به بال‌ها و جان (یا جان‌های) مقطع ستون، پس از اتمام عملیات جوش‌کاری الزامی نیست. پشت‌بندهایی که در محل اتصال به بال ستون باقی می‌مانند باید با استفاده از یک جوش گوشه پیوسته 8 میلی‌متری بر لبه زیرین جوش شیاری به بال ستون متصل شود. هنگامی که پشت‌بند برداشته می‌شود، پاس ریشه باید تا رسیدن به فلز جوش سالم شیار زنی شود و با یک جوش گوشه تقویت شود. جوش گوشه تقویتی باید سرتاسری بوده و بعد آن حداقل 8 میلی‌متر باشد.

(3) در اتصالات گیردار مستقیم تیر به ستون، اتصال بالهای تیر به بال ستون باید از نوع جوش شیاری با نفوذ کامل باشد. برای این منظور در دو انتهای تیر، تعبیه سوراخ‌های دسترسی برای انجام جوش شیاری با نفوذ کامل بال تیر به بال ستون همراه با ورق‌های پشت‌بند، مطابق الزامات فصل 10-2 این مبحث الزامی است. اتصال ورق‌های پشت‌بند به بال‌های تیر مجاز نیست. در صورتی که جوش‌کاری اتصال بال‌های تیر به بال ستون در کارخانه انجام شود، می‌توان

هم سوراخ دسترسی و هم ورق پشت‌بند را حذف نمود؛ مشروط بر آنکه اولاً برش ورق‌های بال به نحوی باشد که جان تیر به اندازه حداقل 2 میلی‌متر از ورق‌های بال تیر بیرون زده باشد، ثانیاً ریشه جوش تا رسیدن به فلز سالم از پشت شیارزنی شده و با فلز جوش پر شود. در این حالت شیارزنی ریشه جوش بال‌های تیر در محدوده ضخامت جان ضروری نیست.

(4) در اتصالات گیردار مستقیم تیر به ستون، برای اتصال بالهای تیر به بال ستون، استفاده از ورق‌های گوشواره (ناودان انتهای جوش شیاری) الزامی است. ورق‌های گوشواره باید حداقل به اندازه 25 میلی‌متر یا ضخامت قطعه (هر کدام بزرگتر بود)، از لبه درز امتداد داشته باشد؛ ولی نیازی نیست بلندتر از 50 میلی‌متر باشد. پس از تکمیل جوش‌کاری، ورق‌های گوشواره‌ای باید

برداشته شوند.

(5) در اتصالات گیردار مستقیم تیر به ستون، پشت‌بندهای مورد استفاده در بال تحتانی تیر (در صورت وجود) باید برداشته شوند و پس از برداشتن پشت‌بند، پاس ریشه باید تا رسیدن به فلز جوش سالم شیارزنی شود و با جوش گوشه به ضخامت حداقل 8 میلی‌متر تقویت گردد. ضخامت جوش گوشه تقویتی باید به گونه‌ای باشد که پنجه جوش گوشه روی فلز پایه تیر قرار گیرد. چنانچه پس از حذف پشت‌بند، فلز پایه و ریشه جوش بخصورت یکنواخت سنگ زنی شوند، نیازی به ادامه دادن جوش گوشۀ تقویتی روی فلز پایه نیست.

(6) در اتصالات گیردار مستقیم تیر به ستون، برداشتن پشت‌بندهای مورد استفاده در بال فوقانی تیر (در صورت وجود) الزامی نیست. در صورتی که پشت‌بندها برداشته نشوند، این پشت‌بندها باید با جوش گوشه به ضخامت حداقل 8 میلی‌متر به بال ستون جوش داده شوند. جوش‌کاری این پشت‌بندها به بال‌های تیر مجاز نیست.

(7) در صورت اجرای اتصالات گیردار به صورت درختی، محل وصله تیر باید خارج از ناحیه حفاظت شده، باشد.

2-7-3-10 اتصال گیردار تیر با مقطع کاهش یافته (RBS)

اتصال گیردار تیر با مقطع کاهش یافته (شکل 10-3-7-2)، علاوه بر تأمین الزامات عمومی بخش 10-3-7-1، باید دارای شرایط مندرج در این بخش باشد.

در این نوع اتصال قسمتی از بال تیر در مجاورت اتصال آن به ستون بر اساس محدودیت‌های این بخش کاهش می‌یابد. هدف از این اقدام این است که تسلیم و تشکیل مفاصل پلاستیک به طور عمده در این قسمت از تیر اتفاق بیفتد. ناحیه کاهش یافته تیر باید دارای مقاومت موجود کافی در برابر کلیة ترکیبات بارگذاری متعارف باشند.

اتصال گیردار تیر با مقطع کاهش یافته (RBS

شکل 10-3-7-2: اتصال گیردار تیر با مقطع کاهش یافته (RBS)

تبصره: در قاب‌های دارای این نوع اتصالات، در کنترل تغییرمکان جانبی نسبی طبقه باید آثار مقطع کاهش یافته لحاظ شود. در این کنترل به جای مدل‌سازی ناحیه کاهش یافته، می‌توان تغییرمکان جانبی نسبی را در حالتی که ناحیه کاهش یافته مدل نشده است، با ضریب 1.1 برای حالت نظیر c = 0.25bbf تشدید نمود. برای سایر مقادیر c می‌توان از درون یابی خطی بین آن‌ها و c =0.25bbf بهره برد. c پارامتری است که در شکل 10-3-7-2 نشان داده شده و محدودیت‌های آن در بخش 10-3-7-2-1 بیان شده است.

1-2-7-3-10 تیرها

در این نوع اتصال استفاده از مقاطع نوردشده I یا H شکل و مقاطع ساخته شده از ورق دارای مقطع I یا H شکل، برای تیر مجاز است. هم‌چنین:

(1) عمق مقطع تیر نباید از 1000 میلی‌متر بیشتر باشد.

(2) جرم تیر نباید از 450 کیلوگرم بر متر بیشتر باشد.

(3) ضخامت بال مقطع تیر نباید از 50 میلی‌متر بیشتر باشد.

(4) نسبت دهانه آزاد تیر به عمق مقطع آن نباید از 7 در قاب‌های خمشی ویژه و از 5 در قاب‌های خمشی متوسط کمتر در نظر گرفته شود.

(5) نسبت پهنا به ضخامت بال و جان تیر باید ضوابط بندهای 10-3-3-2-2 یا 10-3-3-3-2 را حسب مورد، اقناع نماید. در محاسبه این نسبت، پهنای بال را می‌توان برابر عرض بال در انتهای دوسوم میانی ناحیه کاهش یافته بال در نظر گرفت.

(6) در دو انتهای تیر، برای انجام جوش شیاری با نفوذ کامل بال تیر به بال ستون، در صورت نیاز به سوراخ‌های دسترسی، هندسه آن‌ها باید مطابق الزامات فصل 10-2 باشد.

(7) در دو انتهای تیر، ناحیه حفاظت شده باید برابر a+b در نظر گرفته شود. a و b در شکل 10-3-7-2 نشان داده شده است.

(8) فاصله محل تشکیل مفصل پلاستیک از بر ستون، باید برابر Sh = a + b/2 در نظر گرفته شود. a و b در شکل 10-3-7-2 نشان داده شده است.

(9) در ناحیه کاهش یافته تیر محدودیت‌های زیر باید تأمین شوند. انتخاب نهایی مقادیر این پارامترها براساس تأمین کلیۀ الزامات مربوط به مقاومت موجود لازم تیر در مقطع کاهش یافته و انتهای تیر صورت می‌گیرد.

(1-7-3-10) R=(4c2+b2)/8c
(2-7-3-10) 0.5bbf≤a≤0.75bbf
(3-7-3-10) 0.65db≤b≤0.85db
(4-7-3-10) 0.1bbf≤c≤0.25bbf

در روابط فوق bbf, c,b,a و db در شکل 10-3-7-2 نشان داده شده است.

2-2-7-3-10 ستون‌ها

در این نوع اتصال استفاده از مقاطع نوردشده H شکل، مقاطع ساخته شده دارای مقطع H شکل، جعبه‌ای ساخته شده از ورق یا ساخته شده از مقاطع H شکل همراه با ورق‌های کناری (مقاطع H شکل جعبه‌ای شده) و مقاطع صلیبی شکل ساخته شده از ورق یا ساخته شده از نیمرخ‌های نوردشده برای ستون مجاز است. هم‌چنین:

(1) عمق مقاطع H شکل و عمق و پهنای مقاطع صلیبی شکل نباید از 1000 میلی‌متر و عمق و پهنای مقاطع جعبه‌ای شکل و شکل جعبه‌ای شده نباید از 700 میلی‌متر بیشتر باشد.

(2) در ستون‌های جعبه‌ای ضخامت مقطع ستون باید به نحوی باشد که در ناحیه چشمه اتصال نیاز به ورق‌های مضاعف نباشد.

3-2-7-3-10 سایر الزامات

(1) اتصال بالهای تیر به بال ستون باید از طریق جوش شیاری با نفوذ کامل مطابق الزامات عمومی اتصالات پیش تأییدشده (بند 10-3-7-1-ت) صورت گیرد.

(2) در قاب‌های خمشی ویژه، جان تیر باید از طریق جوش شیاری با نفوذ کامل به بال ستون جوش شود. علاوه بر آن لازم است یک ورق تکی جان در فاصله بین دو سوراخ دسترسی تعبیه شود (شکل 10-3-7-2). استفاده از ورق تکی جان به عنوان پشت‌بند جوش شیاری جان تیر به بال ستون نیز مجاز است. ضخامت ورق تکی جان باید حداقل برابر 10 میلی‌متر باشد. اتصال ورق تکی به بال ستون و جان تیر می‌تواند از نوع جوش گوشه یک‌طرفه با ضخامت حداقل آیین‌نامه‌ای باشد. در انتهای جوش شیاری جان تیر به بال ستون استفاده از ورق‌های گوشواره‌ای الزامی نیست. تعبیه سوراخ در جان تیر به منظور مونتاژ در این اتصالات مجاز است. در صورتی که با رعایت الزامات بند 10-3-7-1-ت سوراخ دسترسی برای اتصال بال تیر به بال ستون ضرورت نداشته باشد، تعبیه ورق تکی جان الزامی نیست. در این حالت جان تیر باید در تمام فاصله بین دو بال تیر با جوش شیاری با نفوذ کامل به بال ستون متصل شود.

(3) در قاب‌های خمشی متوسط، اتصال جان تیر به بال ستون می‌تواند از طریق رعایت ضوابط بند 2 فوق انجام‌پذیرد. در این نوع قاب به جای رعایت این ضوابط، اتصال جان تیر به بال ستون می‌تواند از طریق یک ورق تکی پیچشده به جان تیر نیز صورت گیرد. در این حالت اتصال ورق تکی به جان تیر باید از نوع لغزش بحرانی با سوراخ استاندارد، یا سوراخ استاندارد در یکی و سوراخ لوبیایی کوتاه در امتداد موازی با محور تیر در دیگری باشد. اتصال ورق تکی به بال ستون باید از نوع شیاری با نفوذ کامل یا جوش گوشه دوطرفه باشد. مقاومت برشی موردنیاز اتصال باید براساس الزامات بند 10-3-3-2-5 تعیین شود. ضخامت جوش‌های گوشه طرفین ورق تکی به بال ستون باید حداقل برابر 0.75 ضخامت ورق تکی و ضخامت ورق تکی باید حداقل برابر 10 میلی‌متر باشد. پیچ‌ها می‌توانند قبل یا بعد از جوش‌کاری ورق به بال ستون، پیش‌تنیده شوند.

4-2-7-3-10 برشکاری بال تیر

(1) در ناحیه کاهش یافته تیر، برشکاری بال تیر باید توسط دستگاه برش حرارتی انجام شود تا یک انحنای هموار به وجود آید. در محل خاتمه برشکاری بال تیر، تبدیل مقطع کاهش یافته به مقطع کاهش نیافته باید به صورت هموار و از طریق سنگزنی گوشه‌های تیز انجام شود. رواداری مجاز اجرای برش حرارتی از مقادیر موردنظر، مطابق روابط 10-3-7-1 الی 10-3-7-4، به میزان 6 میلی‌متر است.

(2) شیارهایی که در اثر برش حرارتی ایجاد می‌شوند، اگر عمقی کمتر از 6 میلی‌متر داشته باشند، می‌توانند با سنگزنی برداشته شوند. بعد از سنگ زنی، این ناحیه باید توسط روش MT به صورت غیرمخرب بازرسی شود تا از برداشته شدن کامل شیار اطمینان حاصل شود. سنگ زنی نباید منجر به کاهش مقطع بال تیر به اندازه‌ای بیش از 6 میلی‌متر از مقدار موردنظر، مطابق روابط 10-3-7-1 الی 10-3-7-4 شود.

(3) اگر عمق شیارهایی که در اثر برش حرارتی ایجاد می‌شوند، بیشتر از 6 میلی‌متر ولی کمتر از 13 میلی‌متر باشد، شیار باید توسط جوش‌کاری تعمیر شود. در این حالت ابتدا باید با سنگ زنی، شیار برداشته شده و سپس با پیش گرمایش حداقل 66 درجه سلسیوس جوش‌کاری انجام شود و با سنگ زنی انحنای هموار موردنظر با رعایت رواداری مربوطه ایجاد گردد. این روش را می‌توان در مورد شیارهایی که عمقی کمتر از 6 میلی‌متر دارند، ولی سنگ زنی آن‌ها منجر به کاهش مقطع بال تیر به اندازه‌ای بیش از 6 میلی‌متر از مقدار موردنظر، مطابق روابط 10-3-7-1 الی 10-3-7-4 می‌شود، نیز به کار گرفت.

3-7-3-10 اتصال گیردار فلنجی چهار پیچی بدون استفاده از ورق لچکی (BUEEP) و اتصال گیردار فلنجی چهار یا هشت پیچی با استفاده از ورق لچکی (BSEEP)

اتصالات گیردار فلنجی (شکل 10-3-7-3)، علاوه بر تأمین الزامات عمومی بخش 10-3-7-1، باید دارای شرایط مندرج در این بخش باشند. این نوع اتصال با جوش دادن تیر به ورق انتهایی در کارخانه و پیچ کردن این ورق به بال ستون در کارگاه ساخته می‌شود. رفتار این نوع اتصالات توسط حالتهای حدی مختلفی از قبیل تسلیم خمشی مقطع تیر، تسلیم خمشی ورق انتهایی، تسلیم چشمه اتصال ستون، گسیختگی برشی و کششی پیچهای ورق انتهایی یا گسیختگی در اجزای اتصالات جوشی آن کنترل می‌شود. طراحی اتصال باید به گونه‌ای باشد که با تأمین مقاومت موجود کافی در اجزای آن، تغییرشکل غیرالاستیک از طریق تسلیم مقطع تیر ایجاد شود.

ابعاد و ضخامت ورق انتهایی و نیز مشخصات و تعداد پیچ‌های اتصال ورق انتهایی به بال ستون باید براساس مقاومت‌های خمشی و برشی موردنیاز اتصال تیر به ستون (مطابق الزامات بند 10-3-3-2-6 الی 10-3-3-3-8، حسب مورد) تعیین شود. در تعیین مقاومت‌های طراحی وسایل اتصال، ضریب کاهش مقاومت (ϕ) را می‌توان برای حالت‌های حدی غیرشکل‌پذیر، به جای 0.75 برابر 0.9 و برای حالتهای حدی شکل‌پذیر به جای.9 برابر 1 در نظر گرفت. هم‌چنین در تعیین مقاومت‌های مجاز وسایل اتصال، ضریب اطمینان (Ω) را می‌توان برای حالت‌های حدی غیرشکل‌پذیر، به جای 2 برابر 1.67 و برای حالت‌های حدی شکل‌پذیر به جای 1.67 برابر 1.5 در نظر گرفت.

اتصال گیردار فلنجی چهار پیچی بدون استفاده از ورق لچکی (BUEEP) و اتصال گیردار فلنجی چهار یا هشت پیچی با استفاده از ورق لچکی (BSEEP)

شکل 10-3-7-3: اتصال گیردار فلنجی چهار پیچی بدون استفاده از ورق لچکی (BUEEP) و اتصال گیردار فلنجی چهار یا هشت پیچی با استفاده از ورق لچکی (BSEEP)

1-3-7-3-10 تیرها

در این نوع اتصال گیردار، استفاده از مقاطع نورد شده I یا H شکلی و مقاطع ساخته شده دارای مقطع I یا H شکل، برای تیر مجاز است. هم‌چنین:

(1) نسبت دهانه آزاد تیر به عمق مقطع آن نباید از 7 در قاب‌های خمشی ویژه و از 5 در قاب‌های خمشی متوسط کمتر در نظر گرفته شود.

(2) در دو انتهای تیر، تعبیه سوراخ‌های دسترسی برای انجام جوش شیاری با نفوذ کامل بال تیر به ورق انتهایی، مجاز نیست.

(3) در دو انتهای تیر، ناحیه حفاظت شده باید به شرح زیر در نظر گرفته شود:

  • در اتصال فلنجی بدون استفاده از ورق لچکی، برابر کوچکترین دو مقدار عمق تیر و سه برابر پهنای بال تیر از بر ستون؛
  • در اتصال فلنجی با استفاده از ورق لچکی، برابر کوچکترین دو مقدار طول ورق لچکی به علاوه نصف عمق تیر و سه برابر پهنای بال تیر از بر ستون

(4) فاصله محل تشکیل مفصل پلاستیک از بر ستون (Sh)، باید برابر کوچکترین دو مقدار db/2 و 3bbf برای اتصالات فلنجی بدون استفاده از ورق‌های لچکی و برابر Lst+tp برای اتصالات فلنجی با استفاده از ورق‌های لچکی در نظر گرفته شود که در آن db عمق تیر، bbf پهنای بال تیر، Lst طول ورق لچکی در روی بال تیر و tp ضخامت ورق انتهایی است.

(5) در دو انتهای تیرهای ساخته شده از ورق، به فاصله حداقل برابر کوچک‌ترین دو مقدار عمق تیر و سه برابر پهنای بال تیر، اتصال جان به بال باید از نوع جوش شیاری با نفوذ کامل یا جوش گوشۀ دوطرفه باشد. ضخامت جوش‌های گوشه دوطرفه نباید از 0.75tw (tw ضخامت جان مقطع تیر است) و 6 میلی‌متر کمتر در نظر گرفته شود.

2-3-7-3-10 ستون‌ها

در این نوع اتصال گیردار، استفاده از مقاطع نوردشده H شکل، مقاطع ساخته شده H شکل و مقطع صلیبی شکل ساخته شده از ورق یا ساخته شده از نیمرخهای نوردشده برای ستون مجاز است هم‌چنین:

(1) عمق مقطع ستون نباید از 1000 میلی‌متر بیشتر باشد.

3-3-7-3-10 سایر الزامات

(1) اتصالات فلنجی باید محدودیت‌های ابعادی جدول 10-3-7-2 را تأمین نمایند.

تبصره: در قاب‌های خمشی ویژه با عملکرد توأم دال بتنی و مقطع فولادی در سرتاسر طول تیر، عمق مقطع تیر نباید از 600 میلی‌متر کمتر باشد.

(2) پهنای ورق انتهایی نباید از بال تیر متصل شونده به آن کوچکتر در نظر گرفته شود. هم‌چنین پهنای مؤثر ورق انتهایی که در محاسبات منظور می‌شود، نباید از بال تیر متصل شونده به علاوه 25 میلی‌متر بزرگتر در نظر گرفته شود.

(3) اتصال بال تیر به ورق انتهایی باید از نوع جوش شیاری با نفوذ کامل بوده و در وجه داخلی بال تیر با جوش گوشه به ضخامت حداقل 8 میلی‌متر تقویت گردد.

(4) شیارزنی ریشه جوش بال تیر به ورق انتهایی در قسمتی که مستقیم بالا یا پایین جان تیر قرار می‌گیرد، ضروری نیست. در این قسمت جوش شیاری با نفوذ کامل کفایت می‌نماید.

جدول 10-3-7-2: محدودیت‌های ابعادی اتصالات گیردار فلنجی

  BUEEP BSEEP
چهارپیچی هشت پیچی
پارامتر حداقل (mm) حداکثر(mm) حداقل (mm) حداکثر(mm) حداقل (mm) حداکثر(mm)
tbf 10 25 10 25 15 30
bbf 150 250 150 250 200 350
db 340 1400 340 700 440 1000
tp 12 60 12 50 20 70
bp 180 300 180 300 240 400
g 100 160 80 160 120 160
pfi,pfo 35 120 50 150 40 50
pb 90 100

در جدول فوق:

bbf = پهنای بال تیر

bp = پهنای ورق انتهایی

db = عمق تیر متصل شونده به ورق انتهایی

g = فاصله افقی بین دو ردیف قائم پیچ

pb = فاصله قائم بین دو ردیف پیچ در هر دو طرف بال تیر در اتصال فلنجی هشت پیچی

Pfi = فاصله قائم بین نزدیک‌ترین ردیف پیچ داخلی تا بر بال کششی تیر

pfo = فاصله قائم بین نزدیک‌ترین ردیف پیچ بیرونی تا بر بال کششی تیر

tbf = ضخامت بال مقطع تیر

tp = ضخامت ورق انتهایی

(5) اتصال جان تیر به ورق انتهایی باید از نوع جوش شیاری با نفوذ کامل باشد. چنانچه ضخامت جان مقطع تیر کوچکتر یا مساوی 10 میلی‌متر باشد، استفاده از جوش گوشه دوطرفه نیز مجاز است. در صورت استفاده از جوش گوشه، علاوه بر الزامات متعارف طراحی اتصالات، ضخامت آن باید به گونه‌ای تعیین شود که در فاصله بین وجه داخلی بال تیر تا 150 میلی‌متر بعد از اولین ردیف پیچ در اتصالات چهار پیچی و دومین ردیف پیچ در اتصالات هشت پیچی، مجموع مقاومت آن‌ها برابر مقاومت کششی موجود همین بخش جان باشد. درهرحال ضخامت جوش‌های گوشه نباید از 0.8tw و 8 میلی‌متر کمتر در نظر گرفته شوند.

(6) فاصله سوراخ‌های پیچ (g)، نشان داده شده در شکل‌های 10-3-7- 3-ت، ث و ج، نباید از پهنای بال تیر بزرگتر باشد. هم‌چنین در این شکل‌ها، حداقل اندازه psi, pfo, pfi و pso برای پیچهای تا قطر 25 میلی‌متر برابر قطر پیچ به علاوه 13 میلی‌متر و برای پیچهای با قطر بزرگتر برابر قطر پیچ به علاوه 19 میلی‌متر است. در اتصالات هشت پیچی حداقل اندازه pb، نشان داده شده در شکل 10-3-7-3-ج، 2.7 برابر قطر پیچ است.

(7) ورق‌های لچکی (در صورت استفاده باید در امتداد جان تیر و در وسط ورق انتهایی تعبیه شوند. طول ورق‌های لچکی نباید از 1.75hst کوچک‌تر در نظر گرفته شود که در آن hst ارتفاع لچکی‌ها در امتداد محور ستون است. ورق‌های لچکی مطابق شکل‌های 10-3-7-3-ث و ج، باید در دو انتهای خود طولی حدوداً 25 میلی‌متر برش‌های عمودی و افقی داشته و سپس به صورت مورب بریده شوند. ضخامت ورق‌های لچکی (ts)، نباید کمتر از ضخامت جان مقطع تیر در نظر گرفته شود. هم‌چنین ضخامت ورق‌های لچکی باید به گونه‌ای انتخاب شوند که روابط 10-3-7-5 و 10-3-7-6 اقناع شوند.

(5-7-3-10) 10-3-7-5
(6-7-3-10) 10-3-7-6

در روابط فوق:

hst = ارتفاع ورق لچکی

Fys = تنش تسلیم مشخصه ورق لچکی

Fyb= تنش تسلیم مشخصه فولاد تیر

tbw = ضخامت جان مقطع تیر

(8) اتصال لچکی‌ها (در صورت استفاده) به ورق انتهایی و بال تیر باید از نوع جوش شیاری با نفوذ کامل باشد. چنانچه ضخامت لچکی‌ها کوچکتر یا مساوی 10 میلی‌متر باشد، استفاده از جوش گوشه دوطرفه نیز مجاز است. ضخامت جوش‌های گوشه نباید از 0.8ts (ts ضخامت ورق لچکی است) و 6 میلی‌متر کمتر باشد. گوشه ورق لچکی در محل تقاطع آن با بال تیر و ورق انتهایی باید به صورت مثلثی بریده شود تا فاصله آزاد با جوش بال تیر و ورق انتهایی فراهم شود.

(9) به کار بردن ورق‌های پرکننده انگشتی در بالا و پایین ورق انتهایی مطابق شکل 10-3-7-4 مجاز است.

ورق‌های پرکننده انگشتی در بالا و پایین ورق انتهایی

شکل 10-3-7-4: ورق‌های پرکننده انگشتی در بالا و پایین ورق انتهایی

4-7-3-10 اتصال گیردار پیچی به کمک ورق‌های روسری و زیرسری (BFP)

اتصالات گیردار پیچی به کمک ورق‌های روسری و زیرسری (شکل 10-3-7-5) علاوه بر تأمین الزامات عمومی بخش 10-3-7-1، باید دارای شرایط مندرج در این بخش باشند.

اتصال گیردار پیچی به کمک ورق‌های روسری و زیرسری (BFP)

شکل 10-3-7- 5: اتصال گیردار پیچی به کمک ورق‌های روسری و زیرسری (BFP)

این نوع اتصال از طریق جوش دادن ورق‌های روسری و زیرسری به بال ستون و پیچ کردن آن‌ها به بال تیر ساخته می‌شود. این ورق‌ها باید کاملاً یکسان باشند. ضمناً در این نوع اتصال جان تیر نیز از طریق یک ورق تکی به بال ستون متصل می‌شود. منظور از ضوابط ارائه شده در این بخش این است که وقوع تسلیم و شروع تشکیل مفصل پلاستیک در ناحیه‌ای از تیر در انتهای ورق‌های روسری و زیر سری روی دهد. ابعاد و ضخامت ورق‌های روسری و زیرسری و نیز مشخصات و تعداد پیچ‌های اتصال این ورق‌ها به بال تیر باید بر اساس مقاومت خمشی موردنیاز اتصال تیر به ستون (مطابق الزامات بند 10-3-3-2-6 یا 10-3-3-3-8، حسب مورد) تعیین شود. ابعاد و ضخامت ورق تکی جان و نیز مشخصات و تعداد پیچ‌های اتصال این ورق به جان تیر باید بر اساس مقاومت برشی موردنیاز اتصال تیر به ستون (مطابق الزامات بند 10-3-3-2-6 یا 10-3-3-3-8، حسب مورد) تعیین شود. در تعیین مقاومت‌های طراحی ورق‌های روسری و زیرسری، ورق تکی جان و وسایل اتصال، ضریب کاهش مقاومت (ϕ) را می‌توان برای حالت‌های حدی غیرشکل‌پذیر، به جای 0.75 برابر 0.9 و برای حالت‌های حدی شکل‌پذیر به جای 0.9 برابر 1 در نظر گرفت. هم‌چنین در تعیین مقاومت‌های مجاز آن‌ها ضریب اطمینان (Ω) را می‌توان برای حالت‌های حدی غیرشکل‌پذیر، به جای 2 برابر 1.67 و برای حالت‌های حدی شکل‌پذیر به جای 1.67 برابر 1.5 در نظر گرفت.

1-4-7-3-10 تیرها

در این نوع اتصال گیردار، استفاده از مقاطع نورد شده I یا H شکل و مقاطع ساخته شده دارای مقطع I یا H شکل، به عنوان تیر مجاز است. هم‌چنین:

(1) در دو انتهای تیر، ناحیه حفاظت شده باید برابر فاصله از بر ستون تا دورترین ردیف پیچ در روی بال تیر نسبت به بر ستون به علاوه عمق تیر در نظر گرفته شود.

(2) محل تشکیل مفصل پلاستیک (Sh) در روی تیر باید در محل دورترین ردیف پیچ در روی بال تیر نسبت به بر ستون، در نظر گرفته شود.

(3) جرم تیر نباید از 250 کیلوگرم بر متر بیشتر باشد.

(4) عمق مقطع تیر نباید از 1000 میلی‌متر بیشتر باشد.

(5) ضخامت بال مقطع تیر نباید از 30 میلی‌متر بیشتر باشد.

(6) نسبت دهانه آزاد تیر به عمق مقطع آن نباید از 9 در قاب‌های خمشی ویژه و از 7 در قاب‌های خمشی متوسط کمتر در نظر گرفته شود.

2-4-7-3-10 ستون‌ها

در این نوع اتصال استفاده از مقاطع نورد شده یا ساخته شده دارای مقطع Hشکل، جعبه‌ای ساخته شده از ورق یا ساخته شده از مقاطع H شکل همراه با ورق‌های کناری و مقطع صلیبی شکل ساخته شده از ورق یا ساخته شده از نیمرخ‌های نوردشده به عنوان ستون مجاز است. هم‌چنین:

(1) عمق مقطع ستون‌های H شکل و صلیبی شکل در قاب‌های خمشی با دال بتنی سازه‌ای و دارای برشگیر فولادی مدفون در بتن در فاصله بین نواحی محافظت شده در انتهای تیر، نباید از 1000 میلی‌متر و در غیاب دال بتنی سازه‌ای از 400 میلی‌متر بیشتر باشد.

(2) عمق و پهنای مقطع ستون‌های جعبه‌ای ساخته شده از مقطع H شکل و ستون‌های جعبه‌ای ساخته شده از ورق نباید از 700 میلی‌متر بیشتر باشد.

3-4-7-3-10 سایر الزامات

(1) استفاده از ورق‌های پرکننده به ضخامت مجموعاً تا 6 میلی‌متر بین ورق‌های اتصال و بال تیر مجاز است. این پرکننده‌ها می‌توانند به صورت انگشتی با ورق‌های سوراخ شده باشند.

(2) اتصال ورق‌های روسری و زیرسری به بال ستون باید از نوع جوش شیاری با نفوذ کامل باشند. این جوش‌ها باید بحرانی لرزه‌ای در نظر گرفته شوند. در صورت استفاده از تسمه پشت‌بند برای اجرای جوش شیاری با نفوذ کامل، پشت‌بندها باید پس از انجام جوش‌کاری برداشته شوند. پس د از برداشتن پشت‌بند، پاس ریشه باید تا رسیدن به فلز جوش سالم شیار زنی شود و با جوش با تقویت شود.

(3) اتصال ورق تکی جان به بال ستون باید از نوع شیاری با نفوذ کامل یا جوش گوشه دوطرفه باشد. ضخامت جوشهای گوشه باید براساس مقاومت برشی موردنیاز اتصال تیر به ستون مطابق الزامات بند 10-3-7-6 یا 10-3-9-8، حسب مورد) تعیین شود و در هر حال در هر دو طرف نباید از 0.8tws (tws ضخامت ورق تکی جان است) و 8 میلی‌متر کمتر در نظر گرفته شود.

(4) اتصال ورق‌های روسری و زیرسری به بال‌های تیر باید از نوع پیچی با ردۀ 10.9 یا معادل آن و با قطر پیچ حداکثر برابر 27 میلی‌متر باشد. پیچ‌ها باید در هر ردیف دو عدد و به صورت متقارن در طرفین محور تیر تعبیه شوند. طول گروه پیچ‌ها در امتداد محور تیر نباید از عمق تیر بیشتر باشد. سوراخ‌های بال تیر باید استاندارد باشند. سوراخ‌های ورق‌های روسری و زیرسری می‌توانند استاندارد یا بزرگ شده باشند. سوراخ‌ها باید با مته ایجاد شوند. استفاده از پانچ برای سوراخ‌کاری مجاز نیست.

(5) اتصال ورق تکی به جان تیر باید از نوع پیچی بوده و سوراخ‌های ایجادشده در یکی از اجزاء یعنی ورق تکی یا جان تیر، می‌تواند به صورت لوبیایی کوتاه افقی باشد.

5-7-3-10 اتصال گیردار جوشی به کمک ورق‌های روسری و زیرسری (WFP)

اتصالات گیردار جوشی به کمک ورق‌های روسری و زیرسری (شکل 10-3-7-6)، علاوه بر تأمین الزامات عمومی بخش 10-3-7-1، باید دارای شرایط مندرج در این بخش باشند.

اتصال گیردار جوشی به کمک ورق‌های روسری و زیرسری (WFP)

شکل 10-3-7-6: اتصال گیردار جوشی به کمک ورق‌های روسری و زیرسری (WFP)

این نوع اتصال از طریق جوش دادن ورق‌های روسری و زیرسری به بال ستون و بال تیر ساخته می‌شود. ضمناً در این نوع اتصال جان تیر نیز از طریق ورق یا ورق‌های جان یا جفت نبشی به بال ستون متصل می‌شود. کاربرد این نوع اتصالات فقط به قاب‌های خمشی متوسط محدود می‌شود و تا زمان انتشار ویرایش پنجم استاندارد 2800، در ساختمان‌های با ارتفاع حداکثر 20 متر از تراز پایه قابل استفاده است. هدف از ضوابط ارائه شده در این بخش این است که وقوع تسلیم و شروع تشکیل مفصل پلاستیک در ناحیه‌ای از تیر در انتهای ورق‌های روسری و زیرسری روی دهد.

ابعاد و ضخامت ورق‌های روسری و زیرسری و نیز مشخصات جوش‌های آن‌ها به بال‌های تیر باید براساس مقاومت خمشی موردنیاز اتصال تیر به ستون (مطابق الزامات بند 10-3-3-2-6) تعیین شود. ابعاد و ضخامت ورق (یا ورق‌های جان یا جفت نبشی) و نیز جوش آن‌ها به بال ستون و جان تیر باید براساس مقاومت برشی موردنیاز اتصال تیر به ستون (مطابق الزامات بند 10-3-3-2-6) تعیین شود. در تعیین مقاومت‌های طراحی ورق‌های روسری و زیرسری، ورق تکی جان (با ورق‌های جان یا جفت نبشی) و وسایل اتصال، ضریب کاهش کاهش مقاومت (ϕ) را می‌توان برای حالت‌های حدی غیرشکل‌پذیر، به جای 0.75 برابر 0.9 و برای حالت‌های حدی شکل‌پذیر به جای 0.9 برابر 1 در نظر گرفت. هم‌چنین در تعیین مقاومت‌های مجاز آن‌ها ضریب اطمینان (Ω) را می‌توان برای حالت‌های حدی غیرشکل‌پذیر، به جای 2 برابر 1.67 و برای حالت‌های حدی شکل‌پذیر به جای 1.67 برابر 1.5 در نظر گرفت.

1-5-7-3-10 تیرها

در این نوع اتصال گیردار، استفاده از مقاطع نورد شده I یا H شکل و مقاطع ساخته شده دارای مقطع I یا Hشکل، به عنوان تیر مجاز است. هم‌چنین:

(1) در دو انتهای تیر، ناحیه حفاظت شده باید برابر فاصله از بر ستون تا انتهای ورق‌های روسری و زیرسری بعلاوه نصف عمق تیر بعد از آن، در نظر گرفته شود.

(2) محل تشکیل مفصل پلاستیک (Sh) در روی تیر باید در محل انتهای ورق‌های روسری و زیرسری، در نظر گرفته شود.

(3) عمق مقطع تیر نباید از 900 میلی‌متر بیشتر باشد.

(4) جرم تیر نباید از 250 کیلوگرم بر متر بیشتر باشد.

(5) ضخامت بال مقطع تیر نباید از 30 میلی‌متر بیشتر باشد.

(6) نسبت دهانه آزاد تیر به عمق مقطع آن نباید از 5 کمتر در نظر گرفته شود.

2-5-7-3-10 ستون‌ها

در این نوع اتصال استفاده از مقاطع نوردشده H شکل، مقاطع ساخته شده Hشکل، جعبه‌ای ساخته شده از ورق یا ساخته شده از مقاطع H شکل همراه با ورق‌های کناری و مقطع صلیبی ساخته شده از ورق یا ساخته شده از نیمرخ‌های نورد شده به عنوان ستون مجاز است. هم‌چنین:

(1) عمق مقطع ستون‌های H شکل و صلیبی شکل در قاب‌های خمشی با دال بتنی سازه‌ای و دارای برشگیرهای فولادی مدفون در بتن در فاصله بین نواحی محافظت شده در انتهای تیر، نباید از 900 میلی‌متر و در غیاب دال بتنی سازه‌ای از 400 میلی‌متر بیشتر باشد.

(2) عمق و پهنای ستون‌های جعبه‌ای ساخته شده از مقطع H و ستون‌های جعبه‌ای ساخته شده از ورق نباید از 700 میلی‌متر بیشتر باشد.

3-5-7-3-10 سایر الزامات

در این نوع اتصالات گیردار، الزامات زیر نیز باید رعایت شوند:

(1) طول ورق‌های روسری و زیرسری باید برابر باشد.

(2) ورق روسری می‌تواند به صورت پهن شده یا دارای پهنای ثابت باشد. در صورت استفاده از ورق پهن شده، رعایت تناسبات نشان داده شده در شکل 10-3-7-6 الزامی است. در صورت استفاده از ورق با پهنای ثابت، این پهنا با لحاظ عرض ورق‌های گوشواره (ناودان انتهای جوش) نباید از پهنای بال ستون بیشتر باشد. در این حالت جوش گوشه اتصال ورق روسری به بال تیر باید تا انتهای تیر ادامه یابد.

(3) اتصال ورق‌های روسری و زیرسری به بال ستون باید از نوع جوش شیاری با نفوذ کامل و به بالهای تیر از نوع جوش گوشه باشد. استفاده از جوش کام و انگشتانه به همراه جوشهای گوشه در اتصال این ورق‌ها به بال تیر نیز مجاز است.

(4) در صورت استفاده از تسمه‌های پشت‌بند در جوشهای ورق‌های روسری و زیرسری به بال ستون، تسمه‌های پشت‌بند می‌توانند پس از انجام جوش‌کاری برداشته شوند. در این حالت پس از برداشتن پشت‌بند، پاس ریشه باید تا رسیدن به فلز جوش سالم شیارزنی شود و با جوش تقویت گردد. در صورتی که پشت‌بندها برداشته نشوند، این پشت‌بندها باید با جوش گوشه به ضخامت حداقل 8 میلی‌متر به بال ستون جوش داده شوند.

(5) اتصال ورق (یا ورق‌های) جان تیر به بال ستون باید از نوع جوش شیاری با نفوذ کامل یا جوش گوشه باشد. در صورت استفاده از ورق تکی جان و جوش گوشه، این جوش باید به صورت دوطرفه اجرا شود. در صورت استفاده از جفت نبشی برای اتصال جان تیر به بال ستون، این اتصال باید از نوع جوش گوشه باشد.

(6) اتصال ورق جان (یا ورق‌ها یا نبشی‌ها) به جان تیر باید از نوع جوش گوشه باشد.

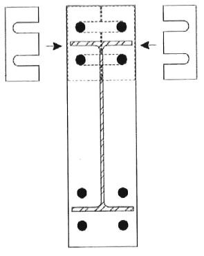
6-7-3-10 اتصال گیردار تقویت نشدۀ جوشی (WUF-W)

اتصالات گیردار تقویت شده جوشی (اتصال شکل 10-3-7-7) علاوه بر تأمین الزامات عمومی بخش 10-3-7-1، باید دارای شرایط مندرج در این بخش باشند.

اتصال گیردار تقویت شده جوشی (WUF-W)

شکل 10-3-7-7: اتصال گیردار تقویت شده جوشی (WUF-W)

در این نوع اتصال گیردار، چرخش غیرالاستیک از طریق تسلیم تیر در ناحیه‌ای از داده که به بر ستون تأمین می‌شود، نحوه تسلیم در این نوع اتصال از طریق اعمال ضوابط خاص این بخش کنترل می‌شود، در این اتصال مقدار ضریب Cpr که در طراحی لرزه‌ای قاب‌های خمشی ویژه مطابق تعریف بند 10-3-3-3-6 مورد استفاده قرار می‌گیرد. باید برابر 1.4 در نظر گرفته شود. این ضریب در محاسبه مقاومت برشی موردنیاز جان تیر (بدون توجه به وجود ورق تکی جان)، مقاومت‌های مورد نیاز در ناحیه چشمه اتصال تیر به ستون و کنترل ضابطه تیر ضعیف-ستون قوی، مورد استقلام قرار می‌گیرد.

1-6-7-3-10 تیرها

در این نوع اتصال گیردار، استفاده از مقاطع نورد شده I یا H شکل و مقاطع ساخته شده دارای مقطع I یا H شکل، به عنوان تیر مجاز است. هم‌چنین:

(1) در دو انتهای تیر، برای انجام جوش شیاری با نفوذ کامل بال تیر به بال ستون، در صورت نیاز به سوراخ‌های دسترسی، هندسه آن‌ها باید مطابق الزامات فصل 10-2 باشد.

(2) در دو انتهای تیر، ناحیه حفاظت شده باید برابر فاصله از بر ستون تا یک برابر عمق مقطع تیر در نظر گرفته شود.

(3) در این نوع اتصال Sh=0 در نظر گرفته می‌شود.

(4) عمق مقطع تیر نباید از 1000 میلی‌متر بیشتر باشد.

(5) جرم تیر نباید از 250 کیلوگرم بر متر بیشتر باشد.

(6) ضخامت بال مقطع تیرها نباید از 30 میلی‌متر بیشتر باشد.

(7) نسبت دهانه آزاد تیر به عمق آن نباید از 7 برای قاب‌های خمشی ویژه و از 5 برای قاب‌های خمشی متوسط کمتر در نظر گرفته شود.

2-6-7-3-10 ستون‌ها

در این نوع اتصال گیردار، استفاده از مقاطع نوردشده H شکل، مقاطع ساخته شده دارای مقطع H شکل، جعبه‌ای ساخته شده از ورق یا ساخته شده از مقاطع H شکل همراه با ورق‌های کناری و مقطع صلیبی ساخته شده از ورق یا ساخته شده از نیمرخ‌های نوردشده به عنوان ستون مجاز است هم‌چنین:

(1) عمق مقطع ستون‌های H شکل و عمق و پهنای ستون‌های با مقطع صلیبی شکل نباید از 1000 میلی‌متر بیشتر باشد.

(2) عمق و پهنای ستون‌های جعبه‌ای ساخته شده از مقطع H یا ورق نباید از 7000 میلی‌متر بیشتر باشد.

3-6-7-3-10 سایر الزامات

(1) اتصال بال‌های تیر به بال ستون باید از طریق جوش شیاری با نفوذ کامل صورت گیرد.

(2) جان تیر باید به بال ستون با استفاده از جوش شیاری با نفوذ کامل اتصال داده شود. علاوه بر آن تعبیه یک ورق تکی جان به ضخامت حداقل برابر ضخامت جان مقطع تیر نیز الزامی است. اتصال ورق تکی جان به بال ستون می‌تواند از طریق جوش شیاری با نفوذ کامل یا جوش گوشه صورت گیرد. مقاومت برشی موجود اتصال جوشی ورق تکی جان به بال ستون باید حداقل برابر hptp(0.6RyFyp)/αs باشد که در آن:

hp = ارتفاع ورق تکی جان

tp = ضخامت ورق تکی جان

Fyp = تنش تسلیم مشخصه ورق تکی جان

Ry = نسبت تنش تسلیم مورد انتظار به تنش تسلیم مشخصه فولاد ورق تکی جان

αs = برابر 1.0 در LRFD و برابر 1.5 در ASD

(3) اتصال ورق تکی جان به جان تیر باید از طریق جوش گوشه به ضخامت برابر ضخامت ورق تکی جان منهای 2 میلی‌متر انجام‌پذیرد.

(4) ورق تکی جان باید محدودیت‌های ابعادی جدول 10-3-7-3 را تأمین نماید.

جدول 10-3-7-3: محدودیت‌های ابعادی ورق تکی جان در اتصال گیردار تقویت نشده جوشی (WUF-W)

ردیف شرح محدودیت*
1 هم پوشانی ورق جان با سوراخ‌های دسترسی 6mm≤a≤12mm
2 شیب پهنای ورق جان 20º≤c≤40º
3 فاصله قائم انتهای جوش ورق جان به جان تیر تا سوراخ دسترسی 12mm≤a≤25mm
4 برگشت عمودی انتهای ورق جان b≥25 mm
5 انتهای پهنای ورق جان به انتهای سوراخ‌های دسترسی b≥50 mm

* پارامترهای d,c,b,a و e در شکل 10-3-7-7 نشان داده شده‌اند.

7-7-3-10 اتصال گیردار پیچی با جفت سپری (DT)

اتصالات گیردار پیچی با جفت سپری (شکل 10-3-7-8)، علاوه بر تأمین الزامات عمومی بخش 10-3-7-1،، باید دارای شرایط مندرج در این بخش باشند.

اتصال گیردار پیچی با جفت سپری (DT)

شکل 10-3-7-8: اتصال گیردار پیچی با جفت سپری (DT)

این نوع اتصال با استفاده از مقاطع سپری بریده شده از مقاطع I یا H شکل نور دشده یا مقاطع سپری ساخته شده از ورق و پیچ کردن آن‌ها به بال‌های تیر و ستون اجرا می‌شود. مقاطع سپری متصل به بال‌های بالا و پایین تیر باید یکسان بوده و از طریق چهار پیچ یا هشت پیچ به بال ستون متصل شوند. جان تیر نیز با پیچهایی به ورق تکی که به بال ستون جوش شده، متصل می‌شود. رفتار این نوع اتصالات توسط تسلیم ناشی از خمش مقطع تیر در نزدیکی آخرین ردیف پیچهای اتصال بال تیر به جان سپری کنترل می‌شود. شکل 10-3-7-9 پارامترهای مشخص کننده ابعاد این اتصال را نشان می‌دهند.

پارامترهای ابعاد ستون و ورق اتصال برشی در اتصال پیچی با جفت سپری (DT)

شکل 10-3-7-9: پارامترهای ابعاد ستون و ورق اتصال برشی در اتصال پیچی با جفت سپری (DT)

1-7-7-3-10 تیرها

در این نوع اتصال، استفاده از مقاطع نورد شده یا ساخته شده I یا H شکل، به عنوان تیر مجاز است اما استفاده از مقاطع نورد شده با بال دارای ضخامت متغیرنظیر INP مجاز نیست. هم‌چنین:

(1) عمق مقطع تیر نباید از 700 میلی‌متر بیشتر باشد.

(2) جرم تیر نباید از 1200 کیلوگرم بر متر بیشتر باشد.

(3) ضخامت بال مقطع تیر نباید از 20 میلی‌متر بیشتر باشد.

(4) نسبت دهانه آزاد تیر به عمق مقطع آن نباید از 9 برای قاب‌های خمشی ویژه و از 7 برای قاب‌های خمشی متوسط کمتر در نظر گرفته شود.

(5) در دو انتهای تیر، ناحیه حفاظت شده برابر فاصله بر ستون تا دورترین ردیف پیچ در روی بال تیر نسبت به بر ستون به علاوه عمق تیر، در نظر گرفته می‌شود.

(6) محل تشکیل مفصل پلاستیک (Sh) در روی تیر باید در محل دورترین ردیف پیچ در روی بال تیر نسبت به بر ستون، در نظر گرفته شود.

2-7-7-3-10 ستون‌ها

در این نوع اتصال، استفاده از مقاطع نوردشده H شکل، مقاطع ساخته شده دارای مقطع H شکل و مقطع صلیبی ساخته شده از ورق یا از نیمرخ‌های نوردشده، به عنوان ستون مجاز است. هم‌چنین:

(1) عمق و پهنای مقطع ستون‌های با مقطع H شکل و صلیبی نباید از 1000 میلی‌متر بیشتر باشد.

3-7-7-3-10 سایر الزامات

(1) ضخامت ورق پیوستگی در محل اتصال نباید از ضخامت بال تیر و جان سپری کوچکتر باشد.

(2) در صورت استفاده از سپری‌های ساخته شده از ورق، اتصال جان به بال سپری باید از نوع جوش شیاری با نفوذ کامل باشد. این جوش بحرانی لرزه‌ای محسوب می‌شود.

(3) ورق تکی جان باید به بال ستون جوش شود. این جوش می‌تواند از نوع شیاری با نفوذ کامل یا نفوذ ناقص دوطرفه و یا گوشه دوطرفه باشد.

(4) اتصالات پیچی باید شرایط زیر را اقناع نمایند:

  • پیچ‌ها باید به صورت قرینه در دو طرف محورهای تیر و ستون اجرا شوند.
  • پیچهای برشی اتصال بال تیر و سپری باید دو عدد در هر ردیف باشند. پیچهای کششی اتصال بال ستون و سپری باید دو یا چهار عدد در هر ردیف باشند.
  • سوراخ‌های بال‌های تیر و ستون باید استاندارد باشند.
  • سوراخ‌های ایجادشده روی جان سپری می‌تواند به صورت استاندارد یا بزرگ شده باشد.
  • سوراخ‌های ایجادشده روی بال سپری می‌تواند به صورت استاندارد یا بزرگ شده یا لوبیایی کوتاه موازی محور ستون باشد.
  • سوراخ‌های ایجادشده روی جان تیر و ورق تکی جان باید به صورت استاندارد باشد، ولی در صورت تعبیه سوراخ استاندارد بر روی جان یا ورق تکی جان، سوراخ‌های دیگری می‌تواند به صورت لوبیایی کوتاه موازی محور تیر اجرا شود.
  • نسبت gtb/tft نباید از 7 بزرگ‌تر باشد. tft ضخامت بال سپری بوده و gtb در شکل 10-3-7-9 نشان داده شده است.

(5) ورق‌های پرکننده با مجموع ضخامت حداکثر 6 میلی‌متر می‌تواند در محل تماس جان سپری و بال تیر استفاده شود. استفاده از ورق‌های پرکننده مذکور در محل تماس بال سپری و بال ستون نیز مجاز است.

8-7-3-10 اتصال گیردار تیر با مقطع کاهش یافته و دیافراگم عبوری از ستون (TD-RBS)

اتصال گیردار مستقیم تیر با مقطع کاهش یافته و دیافراگم عبوری از ستون (شکل 10-3-7-10)، علاوه بر تأمین الزامات عمومی بخش 10-3-7-1، باید دارای شرایط مندرج در این بخش باشد.

اتصال گیردار تیر با مقطع کاهش یافته و دیافراگم عبوری از ستون (TD-RBS)

شکل 10-3-7-10: اتصال گیردار تیر با مقطع کاهش یافته و دیافراگم عبوری از ستون (TD-RBS)

در این نوع اتصال قسمتی از بال تیر در مجاورت اتصال آن به ستون براساس محدودیت‌های این بخش کاهش می‌یابد. هدف از این اقدام این است که تسلیم و تشکیل مفاصل پلاستیک به طور عمده در این قسمت از تیر اتفاق بیفتد. در این نوع اتصالات ناحیه کاهش یافته تیرها باید دارای مقاومت موجود کافی در برابر کلیه ترکیبات بارگذاری متعارف باشند.

تبصره: در کنترل تغییرمکان جانبی نسبی طبقه در قاب‌های دارای این نوع اتصالات، باید آثار مقطع کاهش یافته لحاظ شود. در این کنترل به جای مدل‌سازی ناحیه کاهش یافته می‌توان تغییرمکان جانبی نسبی را در حالتی که ناحیه کاهش یافته مدل نشده است با ضریب 1.1 برای حالت نظیر c=0.25bbf تشدید نمود. برای سایر مقادیر c می‌توان از درون یابی خطی بین آن‌ها و c=0.25bbf بهره برد. c پارامتری است که در شکل (10-3-7-10) نشان داده شده و محدودیت‌های آن در بخش 10-3-7-8-1 بیان شده است.

1-8-7-3-10 تیرها

در این نوع اتصال استفاده از مقاطع نورد شده I یا H شکل و مقاطع ساخته شده دارای مقطع I یا H شکل، به عنوان تیر مجاز است. هم‌چنین:

(1) عمق مقطع تیر نباید از 1000 میلی‌متر بیشتر باشد.

(2) جرم تیر نباید از 450 کیلوگرم بر متر بیشتر باشد.

(3) ضخامت بال مقطع تیر نباید از 50 میلی‌متر بیشتر باشد.

(4) نسبت دهانه آزاد تیر به عمق مقطع آن نباید از 7 در قاب‌های خمشی ویژه و از 5 در قاب‌های خمشی متوسط کمتر در نظر گرفته شود.

(5) نسبت پهنا به ضخامت بال و جان تیر باید ضوابط بندهای 10-3-3-2-2 یا 10-3-3-3-2 را، حسب مورد، اقناع نماید. در محاسبه این نسبت، پهنای بال را می‌توان برابر عرض بال در انتهای دوسوم میانی ناحیه کاهش یافت بال در نظر گرفت.

(6) در دو انتهای تیر، ناحیه حفاظت شده باید برابر a+b در نظر گرفته شود. پارامترهای a و b در شکل (10-3-7-10) نشان داده شده است.

(7) محل تشکیل مفصل پلاستیک باید برابر Sh=a+b/2 از بر ستون در نظر گرفته شود.

(8) در ناحیه کاهش یافته تیر، محدودیت‌های زیر باید تأمین شوند. انتخاب نهایی مقادیر این پارامترها براساس تأمین کلیۀ الزامات مربوط به مقاومت موجود لازم تیر در مقطع کاهش یافته و انتهای تیر صورت می‌گیرد.

(1-7-3-10 تکراری) R=(4c2+b2)/8c
(2-7-3-10 تکراری) 0.5bbf≤a≤0.75bbf
(3-7-3-10 تکراری) 0.65db≤b≤0.85db
(4-7-3-10 تکراری) 0.1bbf≤c≤0.25bbf

در روابط فوق:

a = فاصله افقی از لبه ورق‌های دیافراگم تا ابتدای برش مقطع کاهش یافته تیر

b = طول برش مقطع کاهش یافت تیر

c = عمق برش در مرکز مقطع کاهش یافته تیر

bbf =پهنای کاهش نیافته بال تیر

db = عمق مقطع تیر

2-8-7-3-10 ستون‌ها

در این نوع اتصال استفاده از مقاطع جعبه‌ای ساخته شده از ورق یا مقاطع قوطی شکل (HSS) به عنوان ستون مجاز است. هم‌چنین:

(1) عمق و پهنای ستون نباید از 700 میلی‌متر بیشتر باشد.

(2) ضخامت بال‌ها و جان‌های مقطع ستون باید به نحوی باشد که در ناحیه چشمه اتصال نیازی به ورق‌های مضاعف نباشد.

3-8-7-3-10 ورق‌های دیافراگم

(1) مصالح ورق‌های دیافراگم که دارای ضخامت مساوی با بیش از 30 میلی‌متر هستند، باید دارای خواص تأییدشده در امتداد ضخامت بوده و از نظر طاقت نمونه شیار داده شده شار پی، حداقل از ردۀ J0 باشند.

(2) ضخامت ورق‌های دیافراگم باید حداقل 5 میلی‌متر از ضخامت بالهای تیر و حداقل 3 میلی‌متر از ضخامت ورق‌های ستون بزرگتر باشد. هم‌چنین ضخامت ورق‌های دیافراگم باید به نحوی باشد که الزامات ورق‌های پیوستگی بندهای 10-3-3-2-8 یا 10-3-3-3-10، حسب مورد، را تأمین نمایند. در تأمین این الزامات علاوه بر کنترل حالت حدی تسلیم ورق دیافراگم در پهنای کلی، باید حالت حدی گسیختگی در پهنایی که بال تیر به ورق دیافراگم جوش شده است نیز کنترل گردد. در این محاسبات ضریب کاهش مقاومت (ϕ) را می‌توان برای حالت‌های حدی تسلیم، به جای 0.9 برابر 1.0 و برای حالت‌های حدی گسیختگی به جای 0.75 برابر 0.9 در نظر گرفت. هم‌چنین ضریب اطمینان (Ω) را می‌توان برای حالت‌های حدی تسلیم، به جای 1.67 برابر 1.5 و برای حالت‌های حدی گسیختگی به جای 2.0 برابر 1.67 در نظر گرفت.

(3) اتصال ستون به ورق‌های دیافراگم باید از نوع جوش شیاری با نفوذ کامل همراه با ورق‌های پشت‌بند بوده و در محل کارخانه اجرا گردد. این جوش بحرانی لرزه‌ای محسوب شده و ضوابط بند 10-3-2-1-6 (ب) باید در مورد آن رعایت گردد. هم‌چنین کیفیت صد درصد این جوشها باید از طریق آزمایش‌های غیرمخرب نظیر رادیوگرافی یا التراسونیک (فراصوتی) تأیید شود.

(4) مطابق جزئیات شکل 10-3-7-10، در این نوع اتصال سطح بیرونی بال فوقانی تیر باید حداکثر 3 میلی‌متر پایین‌تر از سطح فوقانی ورق دیافراگم باشد.

4-8-7-3-10 سایر الزامات

(1) برشکاری مقطع کاهش یافته تیر باید الزامات بند 10-3-7-2-4 را اقناع نماید.

(2) اتصال بالهای تیر به ورق‌های دیافراگم باید از نوع جوش شیاری با نفوذ کامل باشد. برای این منظور در دو انتهای تیر، تعبیه سوراخ‌های دسترسی برای انجام جوش شیاری با نفوذ کامل بال تیر به ورق دیافراگم، مطابق الزامات فصل 10-2 مبحث دهم، الزامی است. برای اتصال بال‌های تیر به ورق‌های دیافراگم استفاده از ورق پشت‌بند الزامی است (شکل 10-3-7-11). اتصال ورق‌های پشت‌بند به بالهای تیر مجاز نیست. در صورتی که جوش‌کاری اتصال بال‌های تیر به ورق‌های دیافراگم در کارخانه انجام شود (اتصال درختی)، می‌توان هم سوراخ دسترسی و هم ورق پشت‌بند را حذف نمود، مشروط بر آنکه اولاً برش ورق‌های بال به نحوی باشد که جان تیر به اندازه حداقل 2 میلی‌متر از ورق‌های بال تیر بیرون زده باشد، ثانیاً ریشه جوش تا رسیدن به فلز سالم از پشت شیار زنی شود و با فلز جوش پر شود (شکل 10-3-7-12).

اتصال بال تیر به ورق دیافراگم با استفاده از سوراخ دسترسی و ورق‌های پشت‌بند

شکل 10-3-7-11: اتصال بال تیر به ورق دیافراگم با استفاده از سوراخ دسترسی و ورق‌های پشت‌بند

(3) برای اتصال بالهای تیر به ورق‌های دیافراگم استفاده از ورق‌های گوشواره الزامی است. ورق‌های گوشواره باید حداقل به اندازه 25 میلی‌متر یا ضخامت قطعه (هر کدام بزرگتر بود)، از لبه درز در امتداد داشته باشد؛ ولی نیازی نیست که بلندتر از 50 میلی‌متر باشد. برای تأمین این الزام پهنای بال تیر باید به نحوی انتخاب شود که رابطه زیر برقرار باشد:

(7-7-3-10) Bd≥[bbf+max(2tbf, 50mm)]

که در آن:

Bd = پهنای ورق دیافراگم

tbf = ضخامت بال تیر

bbf = پهنای بال تیر

هم‌چنین خال جوش‌های متصل کننده ورق‌های گوشواره باید داخل درز جوش ایجاد شوند. پس از برداشتن ورق‌های گوشواره، حداکثر ناهمواری مجاز سطح برابر 13 میکرون است.

(4) هنگامی که پشت‌بند فولادی برای جوش‌های شیاری با نفوذ کامل بین بال پایینی تیر و ورق دیافراگم استفاده شود، پشت‌بند باید بعد از جوش‌کاری برداشته شود. پس از برداشتن پشت‌بند فولادی، پاس ریشه باید تا رسیدن به فلز جوش سالم، از پشت شیارزنی شود و با جوش گوشه تقویتی، از پشت جوش شود. ضخامت جوش گوشه تقویتی باید حداقل 8 میلی‌متر باشد.

(5) هنگامی که پشت‌بند فولادی برای جوش‌های شیاری با نفوذ کامل بین بال بالایی تیر و ورق دیافراگم استفاده شود، و پشت‌بند برداشته شود. پشت‌بند باید با جوش گوشه سراسری به ضخامت حداقل 8 میلی‌متر بر لبه زیرین جوش شیاری به ورق دیافراگم متصل شود.

(6) در قاب‌های خمشی ویژه اتصال جان تیر به بال ستون باید از طریق جوش شیاری با نفوذ کامل صورت گیرد. علاوه بر آن لازم است یک ورق تکی برش جان در فاصله بین دو سوراخ دسترسی تعبیه شده و به ستون جوش شود (شکل 10-3-7-10)، استفاده از ورق تکی جان به عنوان پشت‌بند جوش شیاری جان تیر به بال ستون نیز مجاز است. ضخامت ورق تکی جان باید حداقل برابر 10 میلی‌متر باشد. در انتهای جوش شیاری جان تیر به بال ستون استفاده از ورق‌های گوشواره‌ای الزامی نیست. در صورتی که با رعایت بند 2 فوق سوراخ دسترسی برای اتصال بال تیر به ورق دیافراگم ضرورت نداشته باشد، تعبیه ورق تکی جان الزامی نیست. در این حالت جان تیر باید در تمام فاصله بین دو ورق دیافراگم، با جوش شیاری با نفوذ کامل به بال ستون متصل شود.

(7) در قاب‌های خمشی متوسط، اتصال جان تیر به بال ستون می‌تواند از طریق رعایت ضوابط بند 6 فوق انجام پذیرد. در این نوع قاب به جای رعایت این ضوابط، اتصال جان تیر به بال ستون می‌تواند از طریق یک ورق تکی پیچ شده به جان تیر نیز صورت گیرد (شکل 10-3-7-13). در این حالت اتصال ورق تکی به جان تیر باید از نوع لغزش بحرانی با سوراخ استاندارد یا سوراخ استاندارد در یکی و سوراخ لوبیایی کوتاه در امتداد موازی با محور تیر در دیگری و اتصال آن به بال ستون از نوع جوش شیاری با نفوذ کامل یا جوش گوشۀ دوطرفه باشد. در این حالت مقاومت برشی موردنیاز اتصال باید براساس الزامات بند 10-3-3-2-5 تعیین شود. ضخامت جوش‌های گوشۀ طرفین ورق تکی به بال ستون باید حداقل برابر 0.75 ضخامت ورق تکی و ضخامت ورق تکی باید حداقل برابر 10 میلی‌متر باشد.

(8) در صورت نیاز، استفاده از پیچهای نصب با سوراخ‌های استاندارد یا سوراخ‌های لوبیایی کوتاه افقی در جان تیر مجاز است.

اتصال گیردار تیر با مقطع کاهش یافته و دیافراگم عبوری از ستون در قاب‌های خمشی متوسط

شکل 10-3-7-12: اتصال گیردار تیر با مقطع کاهش یافته و دیافراگم عبوری از ستون در قاب‌های خمشی متوسط

9-7-3-10 اتصال گیردار تقویت نشده جوشی با دیافراگم عبوری از ستون (TD-WUFW)

اتصال گیردار تقویت نشده جوشی با دیافراگم عبوری از ستون (شکل 10-3-7-14) علاوه بر تأمین الزامات عمومی بخش 10-3-7-1، باید دارای شرایط مندرج در این بخش باشد.

اتصال گیردار تقویت نشده جوشی با دیافراگم عبوری از ستون (TD-WUFW)

شکل 10-3-7-13: اتصال گیردار تقویت نشده جوشی با دیافراگم عبوری از ستون (TD-WUFW)

در این نوع اتصال چرخش غیرالاستیک از طریق تسلیم تیر در ناحیه‌ای نزدیک به بر ورق‌های دیافراگم تأمین می‌شود. نحوه تسلیم در این نوع اتصال به واسطه اعمال ضوابط خاص این بخش در خصوص جزئیات جوش‌های بال تیر به ورق‌های دیافراگم و جزئیات اتصال جان تیر و ورق تکی به بال ستون کنترل می‌شود. هم‌چنین مقدار ضریب Cpr که در طراحی لرزه‌ای قاب‌های خمشی ویژه مورد استفاده قرار می‌گیرد، باید برابر 1.4 در نظر گرفته شود. این ضریب در محاسبه مقاومت برشی موردنیاز جان تیر (بدون توجه به وجود ورق تکی جان)، مقاومت‌های موردنیاز در ناحیه چشمه اتصال و کنترل ضابطۀ تیر ضعیف- ستون قوی مورد استفاده قرار می‌گیرد.

1-9-7-3-10 تیرها

در این نوع اتصال، استفاده از مقاطع نوردشده I یا H شکل و مقاطع ساخته شده دارای مقطع I یا H شکل، به عنوان تیر مجاز است. هم‌چنین:

(1) عمق مقطع تیر نباید از 1000 میلی‌متر بیشتر باشد.

(2) جرم تیر نباید از 250 کیلوگرم بر متر بیشتر باشد.

(3) ضخامت بال مقطع تیرها نباید از 30 میلی‌متر بیشتر باشد.

(4) در دو انتهای تیر، ناحیه حفاظت شده باید برابر فاصله از بر ورق دیافراگم تا یک برابر عمق مقطع تیر در نظر گرفته شود.

(5) در این نوع اتصال Sh=0 در نظر گرفته می‌شود.

(6) نسبت دهانه آزاد تیر به عمق آن نباید از 7 برای قاب‌های خمشی ویژه و از 5 برای قاب‌های خمشی متوسط کمتر در نظر گرفته شود.

2-9-7-3-10 ستون‌ها

در این نوع اتصال، استفاده از مقاطع جعبه‌ای ساخته شده از ورق یا مقاطع قوطی شکل (HSS) به عنوان ستون مجاز است. هم‌چنین:

(1) عمق و پهنای ستون نباید از 700 میلی‌متر بیشتر باشد.

(2) ضخامت بال‌ها و جان‌های مقطع ستون باید به نحوی باشد که در ناحیه چشمه اتصال نیازی به ورق‌های مضاعف نباشد.

3-9-7-3-10 ورق‌های دیافراگم

(1) مصالح ورق‌های دیافراگم که دارای ضخامت مساوی با بیش از 30 میلی‌متر هستند، باید دارای خواص تأییدشده در امتداد ضخامت بوده و از نظر طاقت نمونه شیار داده شده شارپی، حداقل از ردۀ J0 باشند.

(2) ضخامت ورق‌های دیافراگم باید حداقل 5 میلی‌متر از ضخامت بالهای تیر و حداقل 3 میلی‌متر از ضخامت ورق‌های ستون بزرگتر باشد. هم‌چنین ضخامت ورق‌های دیافراگم باید به نحوی باشد که الزامات ورق‌های پیوستگی بندهای 10-3-3-2-8 یا 10-3-3-3-10، حسب مورد، را تأمین نمایند. در تأمین این الزامات علاوه بر کنترل حالت حدی تسلیم ورق دیافراگم در پهنای کلی، باید حالت حدی گسیختگی در پهنایی که بال تیر به ورق دیافراگم جوش شده است، نیز کنترل گردد. در این محاسبات ضریب کاهش مقاومت (ϕ) را می‌توان برای حالت حدی تسلیم، به جای 0.9 برابر 1.0 و برای حالت حدی گسیختگی، به جای 0.75 برابر 0.9 در نظر گرفت. هم‌چنین ضریب اطمینان (Ω) را می‌توان برای حالت حدی تسلیم، به جای 1.67 برابر 1.5 و برای حالت حدی گسیختگی، به جای 2.0 برابر 1.67 در نظر گرفت.

(3) اتصال ستون به ورق‌های دیافراگم باید از نوع جوش شیاری با نفوذ کامل همراه با ورق‌های پشت‌بند بوده و در محل کارخانه اجرا گردد. این جوش بحرانی لرزه‌ای محسوب شده و ضوابط بند 10-3-2-1-6 (ب) باید در مورد آن رعایت گردد. هم‌چنین کیفیت صد در صد این جوشها باید از طریق آزمایش‌های غیرمخرب نظیر رادیوگرافی یا التراسونیک (فراصوتی) تأیید شود.

(4) مطابق جزئیات شکل 10-3-7-14، در این نوع اتصال سطح بیرونی بال فوقانی تیر باید حداکثر 3 میلی‌متر پایین‌تر از سطح فوقانی ورق دیافراگم باشد.

4-9-7-3-10 سایر الزامات

(1) اتصال بالهای تیر به ورق‌های دیافراگم باید از نوع جوش شیاری با نفوذ کامل باشد. برای این منظور در دو انتهای تیر، تعبیه سوراخ‌های دسترسی برای انجام جوش شیاری با نفوذ کامل بال تیر به ورق دیافراگم، مطابق الزامات فصل 10-2 این مبحث، الزامی است. برای اتصال بالهای تیر به ورق‌های دیافراگم استفاده از ورق پشت‌بند الزامی است (شکل 10-3-7-11). اتصال ورق‌های پشت‌بند به بال‌های تیر مجاز نیست. در صورتی که جوش‌کاری اتصال بال‌های تیر به ورق‌های دیافراگم در کارخانه انجام شود (اتصال درختی)، می‌توان سوراخ دسترسی و ورق پشت‌بند را حذف نمود، مشروط بر آنکه او برش ورق‌های بال به نحوی باشد که جان تیر به اندازه حداقل 2 میلی‌متر از ورق‌های بال تیر بیرون زده باشد، ثانیاً ریشه جوش تا رسیدن به فلز سالم از پشت شیار زنی شود و با فلز جوش پر شود (شکل 10-3-7-12).

(2) برای اتصال بالهای تیر به ورق‌های دیافراگم استفاده از ورق‌های گوشواره الزامی است. ورق‌های گوشواره باید حداقل به اندازه 25 میلی‌متر با ضخامت قطعه (هرکدام بزرگتر بود)، از لبه درز امتداد داشته باشد؛ ولی نیازی نیست بلندتر از 5 میلی‌متر باشد. برای تأمین این الزام پهنای بال تیر باید به نحوی انتخاب شود که رابطه زیر برقرار باشد:

(8-7-3-10) bbf≤[Bd-max(2tbf, 50mm)]

هم‌چنین خال جوش‌های متصل کننده ورق‌های گوشواره باید داخل درز جوش ایجاد شوند. پس از برداشتن ورق‌های گوشواره، حداکثر ناهمواری مجاز سطح برابر 13 میکرون است.

(3) هنگامی که پشت‌بند فولادی برای جوشهای شیاری با نفوذ کامل بین بال پایینی تیر و ورق دیافراگم استفاده شود، پشت‌بند باید بعد از جوش‌کاری برداشته شود. پس از برداشتن پشت‌بند فولادی، پاس ریشه باید تا رسیدن به فلز جوش سالم، از پشت شیارزنی شود و با جوش گوشه تقویتی، از پشت جوش شود. ضخامت جوش گوشۀ تقویتی باید حداقل 8 میلی‌متر باشد.

(4) هنگامی که پشت‌بند فولادی برای جوش‌های شیاری با نفوذ کامل بین بال بالایی تیر و ورق دیافراگم استفاده شود، و پشت‌بند برداشته نشود، پشت‌بند باید با جوش گوشه سراسری به ضخامت حداقل 8 میلی‌متر بر لبه زیرین جوش شیاری به ورق دیافراگم متصل شود.

(5) در این نوع اتصالات، انتقال برش باید از طریق دو عامل، یکی اتصال مستقیم جان تیر به بال ستون و دیگری اتصال ورق تکی جان به بال ستون صورت گیرد. اتصال جان تیر به بال ستون باید از نوع جوش شیاری با نفوذ کامل باشد. اتصال ورق تکی جان به بال ستون می‌تواند از طریق جوش شیاری با نفوذ کامل یا جوش گوشه صورت گیرد. مقاومت برشی طراحی اتصال ورق کی جان به بال ستون باید حداقل برابر hptp(0.6RyFyp)/αs باشد که در آن hp ارتفاع ورق تکی جان و tp ضخامت آن و αs برابر 1.0 در LRFD و برابر 1.5 در ASD است. اتصال ورق تکی جان به جان تیر باید از طریق جوش گوشه به ضخامت برابر ضخامت ورق تکی جان منهای 2 میلی‌متر انجام‌پذیرد. ضخامت ورق تکی جان باید حداقل برابر ضخامت جان مقطع تیر باشد. ورق تکی جان باید محدودیت‌های ابعادی جدول 10-3-7-3 را تأمین نماید.

(6) در صورت نیاز، استفاده از پیچ‌های نصب با سوراخ‌های استاندارد یا سوراخ‌های لوبیایی کوتاه افقی در جان تیر مجاز است.

10-7-3-10 اتصال گیردار تیر با بال پهن شده و دیافراگم عبوری از ستون (TD-Widened)

اتصال گیردار تیر با بال پهن شده و دیافراگم عبوری از ستون (شکل 10-3-7-15) علاوه بر تأمین الزامات عمومی بخش 10-3-7-1، باید دارای شرایط مندرج در این بخش باشد.

اتصال گیردار تیر با بال پهن شده و دیافراگم عبوری از ستون (TD-WIDENED)

شکل 10-3-7-14: اتصال گیردار تیر با بال پهن شده و دیافراگم عبوری از ستون (TD-WIDENED)

در این نوع اتصال در دو انتهای تیر قسمتی از بال‌های تیر در مجاورت اتصال آن به ورق‌های دیافراگم براساس الزامات و محدودیت‌های این بخش پهن می‌شود. هدف از این اقدام این است که تسلیم و تشکیل مفصل‌های پلاستیک به طور عمده در ابتدای نواحی پهن شده تیر (در دو انتهای ناحیه با مقطع ثابت تیر) اتفاق بیفتد. در این نوع اتصال گیردار، ستون‌ها و تیرها شامل ناحیه پهن شده و پهن نشده باید دارای مقاومت موجود کافی در برابر کلیه ترکیبات بارگذاری متعارف باشند.

تبصره: در کنترل تغییرمکان جانبی نسبی طبقه می‌توان اثرات مربوط به ناحیه پهن شده تیر را نیز منظور نمود.

1-10-7-3-10 تیرها

در این نوع اتصال استفاده از مقاطع نورد شده I یا H شکل و مقاطع ساخته شده دارای مقطع I یا H شکل، به عنوان تیر مجاز است. هم‌چنین:

(1) عمق مقطع تیر نباید از 1200 میلی‌متر بیشتر باشد.

(2) جرم تیر نباید از 600 کیلوگرم بر متر بیشتر باشد.

(3) ضخامت بال مقطع تیرها نباید از 50 میلی‌متر بیشتر باشد.

(4) طول ناحیه بال با پهنای متغیر(Ls) نباید از 0.75db و bbf (هر کدام بزرگتر باشد)، کوچک‌تر در نظر گرفته شود که در آن db عمق کلی مقطع تیر و bbf پهنای بال تیر در ناحیه بال یکنواخت است (شکل 10-3-7-15). هم‌چنین شیب پهنای ناحیه بال متغیرنباید از 30 درجه بیشتر باشد. انتخاب نهایی این مقادیر براساس تأمین کلیة الزامات مربوط به مقاومت موجود لازم تیر در مقطع شروع پهن شدن بال و انتهای تیر و نیز کنترل رابطه 10-3-7-9 صورت می‌گیرد. در این نوع اتصال، به عنوان یک گزینه دیگر می‌توان پهنای بال را مطابق شکل 10-3-7-16 افزایش داد.

(5) در دو انتهای تیر، ناحیه حفاظت شده باید برابر فاصله از بر ورق دیافراگم تا نصف عمق مقطع تیر بعد از محل شروع ناحیه بال با پهنای متغیربه سمت وسط تیر در نظر گرفته شود.

(6) محل تشکیل مفصل پلاستیک (Sh) در روی تیر در محل شروع ناحیة بال با پهنای متغیردر نظر گرفته می‌شود.

(7) نسبت دهانه آزاد تیر به عمق آن نباید از 7 برای قاب‌های خمشی ویژه و از 5 برای قاب‌های خمشی متوسط کمتر در نظر گرفته شود.

گزینه دیگر برای اتصال گیردار تیر با بال پهن شده و دیافراگم عبوری از ستون

شکل 10-3-7-15: گزینه دیگر برای اتصال گیردار تیر با بال پهن شده و دیافراگم عبوری از ستون

(8) وصله لب به لب ورق بال تیر با جوش شیاری با نفوذ کامل در محل شروع پهن شدن آن، در صورتی که اولاً وصله جان تیر حداقل به اندازه عمق تیر به سمت میانه تیر از وصله بال فاصله داشته باشد و ثانیاً در کارخانه با صد درصد آزمایشات غیرمخرب کنترل گردد، مجاز است.

2-10-7-3-10 ستون‌ها

در این نوع اتصال، استفاده از مقاطع جعبه‌ای ساخته شده از ورق یا مقاطع قوطی شکل (HSS) به عنوان ستون مجاز است. هم‌چنین:

(1) عمق و پهنای ستون نباید از 800 میلی‌متر بیشتر باشد.

(2) ضخامت بال‌ها و جان‌های مقطع ستون باید به نحوی باشد که در ناحیه چشمه اتصال نیازی به ورق‌های مضاعف نباشد.

3-10-7-3-10 ورق‌های دیافراگم

(1) مصالح ورق‌های دیافراگم که دارای ضخامت مساوی با بیش از 30 میلی‌متر هستند، باید دارای خواص تأییدشده در امتداد ضخامت بوده و از نظر طاقت نمونه شیار داده شده شارپی، حداقل از ردۀ J0 باشند.

(2) ضخامت ورق‌های دیافراگم باید حداقل 5 میلی‌متر از ضخامت بالهای تیر و حداقل 3 میلی‌متر از ضخامت ورق‌های ستون بزرگتر باشد. هم‌چنین ضخامت ورق‌های دیافراگم باید به نحوی باشد که الزامات ورق‌های پیوستگی بندهای 10-3-3-2-8 یا 10-3-3-3-10، حسب مورد، را تأمین نمایند. در تأمین این الزامات علاوه بر کنترل حالت حدی تسلیم ورق دیافراگم در پهنای کلی، باید حالت حدی گسیختگی در پهنایی که بال تیر به ورق دیافراگم جوش شده است، نیز کنترل گردد. در این محاسبات ضریب کاهش مقاومت (ϕ) را می‌توان برای حالت حدی تسلیم، به جای 0.9 برابر 1.0 و برای حالت حدی گسیختگی، به جای 0.75 برابر 0.9 در نظر گرفت. هم‌چنین ضریب اطمینان (Ω) را می‌توان برای حالت حدی تسلیم، به جای 1.67 برابر 1.5 و برای حالت حدی گسیختگی، به جای 2.0 برابر 1.67 در نظر گرفت.

(3) اتصال ستون به ورق‌های دیافراگم باید از نوع جوش شیاری با نفوذ کامل همراه با ورق‌های پشت‌بند بوده و در محل کارخانه اجرا گردد. این جوش بحرانی لرزه‌ای محسوب شده و ضوابط بند 10-3-2-1-6 -ب باید در مورد آن رعایت گردد. هم‌چنین کیفیت صد در صد این جوشها باید از طریق آزمایش‌های غیرمخرب نظیر رادیوگرافی یا التراسونیک (فراصوتی) تأیید شود.

(4) مطابق جزئیات شکل 10-3-7-15، در این نوع اتصال سطح بیرونی بال فوقانی تیر باید به حداکثر 3 میلی‌متر پایین‌تر از سطح فوقانی ورق دیافراگم باشد.

4-10-7-3-10 سایر الزامات

(1) اتصال بال‌های تیر به ورق‌های دیافراگم باید از نوع جوش شیاری با نفوذ کامل باشد. برای این منظور در دو انتهای تیر، تعبیه سوراخ‌های دسترسی برای انجام جوش شیاری با نفوذ کامل بال تیر به ورق دیافراگم، مطابق الزامات فصل 10-2 این مبحث، الزامی است. برای اتصال بالهای تیر به ورق‌های دیافراگم استفاده از ورق پشت‌بند الزامی است (شکل 10-3-7-11). اتصال ورق‌های پشت‌بند به بال‌های تیر مجاز نیست.

در صورتی که جوش‌کاری اتصال بال‌های تیر به ورق‌های دیافراگم در کارخانه انجام شود (اتصال به صورت درختی باشد)، می‌توان سوراخ دسترسی و ورق پشت‌بند را حذف نمود؛ مشروط بر آنکه اولاً برش ورق‌های بال به نحوی باشد که جان تیر به اندازه حداقل 2 میلی‌متر از ورق‌های بال تیر بیرون زده باشد، ثانیاً ریشه جوش تا رسیدن به فلز سالم از پشت شیار زنی شود و با فلز جوش پر شود (شکل 10-3-7-12).

(2) برای اتصال بال‌های تیر به ورق‌های دیافراگم استفاده از ورق‌های گوشواره (ناودان انتهای جوش شیاری) الزامی است. ورق‌های گوشواره باید حداقل به اندازه 25 میلی‌متر یا ضخامت قطعه (هر کدام بزرگتر بود)، از لبه درز امتداد داشته باشد، ولی نیازی نیست بلندتر از 50 میلی‌متر باشد. برای تأمین این الزام، پهنای بال تیر در محل اتصال بال‌های تیر به ورق‌های دیافراگم باید به نحوی انتخاب شود که رابطه زیر برقرار باشد:

(9-7-3-10) Bbf≤[Bd-max(2tbf and 50mm)]

در رابطه فوق:

Bd = پهنای ورق دیافراگم

tbf = ضخامت بال تیر

bbf = پهنای بال تیر در محل اتصال بالهای تیر به ورق‌های دیافراگم

(3) خال جوش‌های متصل کننده ورق‌های گوشواره باید داخل درز جوش ایجاد شوند. پس از برداشتن ورق‌های گوشواره، حداکثر ناهمواری مجاز سطح برابر 13 میکرون است.

(4) هنگامی که پشت‌بند فولادی برای جوش‌های شیاری با نفوذ کامل بین بال پایینی تیر و ورق دیافراگم استفاده شود، پشت‌بند باید بعد از جوش‌کاری برداشته شود. پس از برداشتن پشت‌بند فولادی، پاس ریشه باید تا رسیدن به فلز جوش سالم، از پشت شیار زنی شود و با جوش گوشه تقویتی، از پشت جوش شود. ضخامت جوش گوشه تقویتی باید حداقل 8 میلی‌متر باشد.

(5) هنگامی که پشت‌بند فولادی برای جوش‌های شیاری با نفوذ کامل بین بال بالایی تیر و ورق دیافراگم استفاده شود و پشت‌بند برداشته نشود. پشت‌بند باید با جوش گوشه سراسری به ضخامت حداقل 8 میلی‌متر بر لبه زیرین جوش شیاری به ورق دیافراگم متصل شود.

(6) در قاب‌های خمشی ویژه اتصال جان تیر به بال ستون باید از طریق جوش شیاری با نفوذ کامل صورت گیرد. علاوه بر آن لازم است یک ورق تکی برش جان در فاصله بین دو سوراخ دسترسی تعبیه شده و به ستون جوش شود (شکل 10-3-7-15). استفاده از این ورق تکی جان به عنوان پشت‌بند جوش شیاری جان تیر به بال ستون نیز مجاز است. ضخامت ورق تکی جان باید حداقل برابر 10 میلی‌متر باشد. در انتهای جوش شیاری جان تیر به بال ستون استفاده از ورق‌های گوشواره‌ای الزامی نیست. در صورتی که با رعایت بند 1 فوق سوراخ دسترسی برای اتصال بال تیر به ورق دیافراگم ضرورت نداشته باشد، وجود ورق تکی برش جان الزامی نیست. در این حالت جان تیر باید در تمام فاصله بین دو ورق دیافراگم با جوش شیاری با نفوذ کامل به وجه ستون متصل شود.

(7) در قاب‌های خمشی متوسط، اتصال جان تیر به بال ستون می‌تواند از طریق رعایت ضوابط بند 6 فوق انجام پذیرد. در این نوع قاب به جای رعایت این ضوابط، اتصال جان تیر به بال ستون می‌تواند از طریق یک ورق تکی پیچ شده به جان تیر نیز صورت گیرد (شکل 10-3-7-17). در این حالت اتصال ورق تکی به جان تیر باید از نوع لغزش بحرانی با سوراخ استاندارد یا سوراخ استاندارد در یکی دو سوراخ لوبیایی کوتاه در امتداد موازی با محور تیر در دیگری و اتصال آن به بال ستون از نوع جوش شیاری با نفوذ کامل با جوش گوشه دوطرفه باشد. در این حالت مقاومت برشی موردنیاز اتصال باید براساس الزامات بند 10-3-3-2-5، تعیین شود. ضخامت جوش‌های گوشه طرفین ورق تکی به بال ستون باید حداقل برابر 0.75 ضخامت ورق تکی و ضخامت ورق تکی باید حداقل برابر 10 میلی‌متر باشد.

(8) در صورت نیاز، استفاده از پیچهای نصب با سوراخ‌های استاندارد یا سوراخ‌های لوبیایی کوتاه افقی در جان تیر مجاز است.

اتصال گیردار تیر با بال پهن شده و دیافراگم عبوری از ستون (TD-WIDENED) در قاب‌های خمشی متوسط

شکل 10-3-7-16: اتصال گیردار تیر با بال پهن شده و دیافراگم عبوری از ستون (TD-WIDENED) در قاب‌های خمشی متوسط

همه فصول

مشخصات آیین‌نامه

تعداد فصول: 39 فصل
سال انتشار: 1401
ویرایش: پنجم

جستجو در آیین‌نامه‌ها

ناشرین آیین‌نامه‌ها

مقررات ملی ساختمان

قوانین، آیین‌نامه‌ها، شیوه‌نامه‌ها، دستورالعمل‌ها و بخشنامه‌های ساختمان

نظام مهندسی ساختمان

ضوابط، بخشنامه‌ها، نشریه‌ها و معیار‌های فنی نظام مهندسی ساختمان

مرکز تحقیقات راه، مسکن و شهرسازی

قوانین، آیین‌نامه‌ها و بخشنامه‌های مرکز تحقیقات راه، مسکن و شهرسازی

سازمان برنامه و بودجه کشور

ضوابط، بخشنامه‌ها و قوانین سازمان برنامه و بودجه کشور

سازمان ملی استاندارد ایران

استانداردهای کمیته‌های مختلف سازمان ملی استاندارد ایران

سازمان تامین اجتماعی کشور

مقررات و آیین‌نامه‌های درمانی و بیمه‌ای سازمان تامین اجتماعی کشور

ضوابط فنی و اجرایی شهرداری‌ها

ضوابط، بخشنامه‌ها، نشریه‌ها و معیار‌های فنی شهرداری‌های کشور

ضوابط فنی و اجرایی وزارت بهداشت

ضوابط، بخشنامه‌ها، نشریه‌ها و معیار‌های فنی وزارت بهداشت

ضوابط فنی و اجرایی وزارت نیرو-آبفا

ضوابط، بخشنامه‌ها، نشریه‌ها و معیار‌های فنی وزارت نیرو-آبفا

ضوابط سازمان بنادر و دریانوردی

ضوابط، بخشنامه‌ها، نشریه‌ها و معیار‌های فنی سازمان بنادر و دریانوردی

ضوابط فنی و اجرایی وزارت نفت

ضوابط، بخشنامه‌ها، نشریه‌ها و معیار‌های فنی وزارت نفت

قوانین و مقررات مالیاتی کشور

قوانین، مقررات، ضوابط و دستورالعمل‌هاى مالیاتى سازمان مالیات كشور

تازه‌ترین فصل‌ها

واژه‌نامه

مبحث هفدهم مقررات ملی ساختمان (سامانه گاز طبیعی در ساختمان)

پیوست ۶ دسته‌بندی نوع دستگاه‌‌‌های گازسوز

مبحث هفدهم مقررات ملی ساختمان (سامانه گاز طبیعی در ساختمان)

پیوست 5 شکل‌ها

مبحث هفدهم مقررات ملی ساختمان (سامانه گاز طبیعی در ساختمان)

پیوست 4 جدول‌ها

مبحث هفدهم مقررات ملی ساختمان (سامانه گاز طبیعی در ساختمان)

پیوست 3 ایمنی و ضوابط بهره‌برداری و نگهداری از سیستم لوله‌‌کشی گاز

مبحث هفدهم مقررات ملی ساختمان (سامانه گاز طبیعی در ساختمان)

پیوست 2 نمونه محاسبات

مبحث هفدهم مقررات ملی ساختمان (سامانه گاز طبیعی در ساختمان)

پیوست 1 راهنمای ایمنی

مبحث هفدهم مقررات ملی ساختمان (سامانه گاز طبیعی در ساختمان)